Выкройки даны без припусков на швы.
Медицинская блуза, как предмет форменного гардероба медицинских работников, должна быть и комфортной, и эстетичной. Единый стиль одежды сотрудников создает положительный имидж компании, вызывая доверие пациентов к статусу учреждения и компетентности медиков.
Такая модель медблузы, благодаря контрастным отделочным деталям, дает возможность создавать строгие, но элегантные комплекты с брюками или юбками. Полуприлегающий силуэт и V-образный вырез позволяют даже в форменной одежде выглядеть женственно и привлекательно.
Состав комплекта лекал:
Рекомендации по выбору ткани: сорочечная ткань тиси, медицинские хлопкосодержащие ткани.
Расход основной ткани для выборочных размеров (расчет выполнен для однотонной ткани, сложенной пополам вдоль направления долевой):
Замеры лекал выборочных размеров:
Раскрой:
Материал верха (тиси, цвет 1):
Материал верха (тиси, цвет 2):
Материал верха (тиси, цвет 3):
Этапы сборки и шитья
Перед началом работы продублируйте и осноровите все необходимые детали изделия.
Виртуальная примерка 44 и 52 размеров:
#шкатулка083
Источник
Построение выкройки
Следующий шаг – построение чертежа.
Как построить выкройку медицинского халата
Разберемся детально, как сделать выкройку женского и мужского медицинского халата.
Предлагаем выполнить работу на основе базовой выкройки медицинских халатов. Эта модель прямого свободного кроя. Она подойдет для шитья изделий как для мужчины, так и для женщины.
Совет: мужские и женские варианты отличаются застежкой. У мужчин петли располагаются на левой полочке, у женщин – на правой.
Выкройка состоит из следующих деталей, которые представлены на одном рисунке.
Спинка и полочки
Спинка – левая часть на чертеже, который приведен на фото. Понадобится 1 деталь, которую выкраивают на ткани со сгибом, чтобы не делать дополнительного соединительного шва. Полочка – правая часть чертежа. Необходима 1 бумажная заготовка, по которой выкраиваются правая и левая части переда.
Мы предлагаем чертеж изделия, длина которого 120 см по спинке.
Для моделирования под свои размеры необходимо сначала перенести на бумагу чертеж в натуральную величину. После этого проверить выкройку на соответствие своим размерам (полуобхватам) по длине, а также линии груди, бедер и талии. При необходимости внести соответствующие изменения.
Рукав
Кроме полочек и спинки, необходима выкройка рукава. Мы предлагаем выкройку с небольшой высотой оката.
При желании рукав можно сделать более свободным.
Воротник
Заключительным элементом выкройки становится воротник. Основную его часть выкраивают по этому чертежу.
Для средней части понадобится еще одна деталь.
Теперь выкройка готова. Ее можно дополнить еще одним элементом – накладным карманом.
Как сделать выкройку медицинского халата для ребенка
Медицинский халат может понадобиться не только взрослым. Нередко приходится подыскивать детский вариант, который необходим в садик, для выступления малыша на празднике или утреннике. Детский халат белого цвета тоже проще сшить самостоятельно.
Мы предлагаем выкройку, с помощью которой вы сможете сшить ребенку костюм доброго доктора Айболита.
Для окончательного завершения образа малышу понадобится медицинский колпак (шапочка). Ее выкройка представлена здесь.
Совет: в качестве заготовки детского халатика можно использовать белую рубашку. Если выкроить части одежды из нее, на полочках уже будут готовые планки с петлями и пуговицами.
Шитье медицинского халата
После составления выкройки можно приступать к изготовлению халата. Независимо от того, взрослую или детскую модель вы будете шить, работа выполняется в определенном порядке.
Пошаговая инструкция
- Перевести детали выкройки на ткань.
Важно! Не забывайте к бумажной основе прибавлять с каждой стороны по 1,5-2 см для припусков на швы.
- Вырезать все элементы халата.
- Сборку изделия начинайте с соединения полочек со спинкой: бокового, а затем – плечевого шва. Сначала делается ручная наметка, затем машинная строчка. Каждый шов обрабатывают и проглаживают.
- Сострочите рукава.
- Втачайте их в пройму.
- К лацканам воротника добавьте среднюю часть.
- Сверните воротник вдвое и прикрепите его к полочкам и спинке.
- В зависимости от того, для кого шьется халат, на правой или левой полочке сделайте петли.
- По нижнему срезу выполните подгибку.
- При желании дополните халат карманом.
Ваш медицинский халат готов.
Как стирать кигуруми
Чем отличается свитшот от худи?
Простые рекомендации по построению выкроек спецодежды
Когда изготавливается спецодежда, выкройки чаще всего используют 5-ти размеров и 3-х ростов для мужчин и 6-ти размеров и 3-х ростов для женщин. Но такой подход устраивает далеко не всех потребителей. Многие производители специальной одежды стали проектировать ее по размероростовочным шкалам бытовых предметов гардероба. Правда, некоторых потенциальных заказчиков все же не устраивает спецодежда имеющегося вида и размеров, поэтому они стараются пошить ее по индивидуальным выкройкам. Именно им наша статья сможет быть полезной.
Современная спецодежда год от года имеет все большее число черт бытовой одежды
Что учитывают при выкраивании современной спецодежды
Пошив спецодежды выполняется по двум категориям конструкций в зависимости от ее назначения, характеристик используемых материалов и сложности работ, выполняемых ее владельцем.
Предметы рабочего гардероба имеют такие унифицированные детали, как накладки, усиливающие локти и колени, карманы и клапаны для них и пр.
Для их создания могут быть использованы разные ткани, но чаще всего это:
Когда используются выкройки спецодежды мужской или женской, необходимо учитывать для каких категорий работников изделия создаются.
Иногда для пошива специальной одежды следует применять материалы, имеющие особые качества: водонепроницаемость, повышенная теплозащита, светоотражающие свойства и пр.
Для тех, кого не вполне устраивает продажа спецодежды готовой, мы предлагаем чертежи базовой конструктивной основы некоторых вещей на типовую фигуру. На их основе можно будет создавать разные предметы этого гардероба, используя для их пошива разные ткани и защитные материалы.
Надёжный микс: смесовые ткани
Волокна полиэстера придают одежде износостойкость и прочность, делают её более стойкой к агрессивным воздействиям. Ткани для медицинской одежды, состоящие из синтетики и хлопка в разных сочетаниях, легко стираются, не дают усадки, практически не мнутся и приятны на ощупь.
Натуральные волокна в таких материалах обеспечивают гигиенические свойства, синтетика отвечает за долговечность. Самые популярные смесовые ткани для медодежды: cатори, тередо, экстрафлекс. Они почти не мнутся, отталкивают воду и загрязнения, не растягиваются и не садятся.
Примеры построения выкроек основных предметов спецодежды
Если вам нужна спецодежда, выкройки скачать (бесплатно и за условную плату) можно для разных ее элементов: курток, брюк и т.д. Но если вы справедливо считаете, что построенные собственноручно лекала являются более подходящими, можете воспользоваться нашими чертежами и пояснениями к их построению.
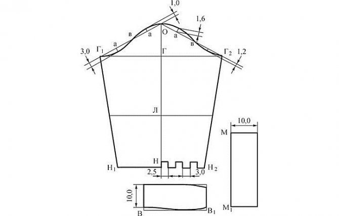
Рисунки а, б, в представляют выкройки разных конструктивных вариантов спинки мужской куртки, относящейся к 1-й группе спецодежды
Когда будет строиться каждое такое лекало (спецодежда), следует пользоваться данными из нижеследующей таблицы, выбирая их из строк, соответствующих нужному конструктивному варианту вещи (а, б, в).
№
| Лекало | Отрезок | Размер | |||||
| 44 | 44 | 44 | 44 | 44 | |||
| 1 | а, б, в | ГА | 25,7 | 26,2 | 26,7 | 27,2 | 27,7 |
| 2. | а | АТ | 44,5 | ||||
| б | АТ | 45,5 | |||||
| в | АТ | 46,5 | |||||
| 3. | а | АА1 | 7,9 | 8,1 | 8,3 | 8,5 | 8,7 |
| б | А1А2 | 7,9 | 8,1 | 8,3 | 8,5 | 8,7 | |
| в | АА1 | 10,2 | 10,4 | 10,6 | 10,8 | 11,0 | |
| 4. | а, б, в | А1А1, А2А3, А1А2 | 3,0 | 3,1 | 3,2 | 3,3 | 3,4 |
| 5. | а | АН2 | 73,0 | ||||
| б | АН | 75,0 | |||||
| в | АН | 77,0 | |||||
| 6. | а, б, в | Г3Г4, ГГ1, ГГ1 | 22,9 | 23,6 | 24,3 | 25,0 | 25,7 |
| 7. | а | Г4Г5 | 6,3 | 6,9 | 7,2 | 7,5 | 7,8 |
| б | Г1Г2 | 7,1 | 7,4 | 7,7 | 8,0 | 8,3 | |
| в | Г1Г2 | 7,8 | 8,1 | 8,4 | 8,7 | 9,0 | |
| 8. | а | Г1П | 21,4 | 22,1 | 22,8 | 23,5 | 24,2 |
| б | Г1П | 20,4 | 21,1 | 21,8 | 22,5 | 23,2 | |
| в | Г1П | 19,4 | 20,1 | 20,8 | 21,5 | 22,2 | |
| 9. | а | ПП1 | 1,6 | 1,5 | 1,4 | 1,3 | 1,2 |
| б | ПП1 | 0,9 | 0,8 | 0,7 | 0,6 | 0,5 | |
| в | ПП1 | 2,0 | 1,9 | 1,8 | 1,7 | 1,6 | |
| 10. | а | Н Н1 | 28,2 | 29,2 | 30,2 | 31,2 | 32,2 |
| б | НН1 | 29,0 | 30,0 | 31,0 | 32,0 | 33,0 | |
| в | НН1 | 29,7 | 30,7 | 31,7 | 32,7 | 33,7 | |
Лекала а, б, в — полочки трех рассматриваемых видов мужской куртки
| № | Лекало | Отрезок | Размер | ||||
| 44 | 46 | 48 | 50 | 52 | |||
| 1. | а, б, в | АГ | 27,9 | 28,5 | 29,1 | 29,7 | 30,3 |
| 2. | а, б, в | ГГ1 | 21,7 | 22,3 | 22,9 | 23,5 | 24,5 |
| 3. | а | Г1Г2 | 6,0 | 6,4 | 6,8 | 7,2 | 7,6 |
| б | Г1Г2 | 6,8 | 7,2 | 7,6 | 8,0 | 8,4 | |
| в | Г1Г2 | 7,5 | 7,9 | 8,3 | 8,7 | 9,1 | |
| 4. | а | Г1П | 20,5 | 21,0 | 21,5 | 22,0 | 22,5 |
| б | Г1П | 19,5 | 20,0 | 20,5 | 21,0 | 21,5 | |
| в | Г1П | 18,5 | 19,0 | 19,5 | 20,0 | 20,5 | |
| 5. | а | ПП1 | 2,5 | 2,6 | 2,6 | 2,7 | 2,7 |
| б | ПП1 | 3,4 | 3,5 | 3,5 | 3,6 | 3,6 | |
| в | ПП1 | 4,2 | 4,1 | 4,1 | 4,0 | 4,0 | |
| 6. | а, б, в | АА1 | 8,7 | 8,8 | 8,9 | 9,0 | 9,1 |
| 7. | а | АА2 | 8,1 | 8,4 | 8,7 | 9,0 | 9,3 |
| б | АА2 | 9,1 | 9,4 | 9,7 | 10,0 | 10,3 | |
| в | АА2 | 10,6 | 10,9 | 11,2 | 11,5 | 11,8 | |
| 8. | а | АН | 74,8 | 75,0 | 75,3 | 75,5 | 75,8 |
| б | АН | 76,8 | 77,0 | 77,3 | 77,5 | 77,8 | |
| в | АН | 78,8 | 79,0 | 79,3 | 79,5 | 79,8 | |
| 9. | а | НН1 | 27,2 | 28,2 | 29,2 | 30,2 | 31,2 |
| б | НН1 | 28,0 | 29,0 | 30,0 | 31,0 | 32,0 | |
| в | НН1 | 28,7 | 29,7 | 30,7 | 31,7 | 32,7 | |
| 10. | а, б, в | КК1 | 9,7 | 10,3 | 9,9 | 10,5 | 11,1 |
| 11. | а, б, в | К1К2=К3К4 | 18,0 | 18,0 | 19,0 | 19,0 | 20,0 |
| 12. | а, б, в | К1К4=К2К3 | 17,0 | 17,0 | 18,0 | 18,0 | 18,0 |
Выкройка рукава с одним швом, его манжеты (М) и нижнего воротника (В) куртки
| № | Отрезок | Размер | ||||
| 44 | 46 | 48 | 50 | 52 | ||
| Рукав | ||||||
| 1. | ОГ | 12,1 | 12,4 | 12,7 | 13,0 | 13,3 |
| 2. | ОН (здесь и далее по строкам – для роста 1,2,3) | 56,0 | ||||
| 58,0 | ||||||
| 60,0 | ||||||
| 3. | ОЛ | 36,0 | ||||
| 37,0 | ||||||
| 38,0 | ||||||
| 4. | ГГ1 = ГГ2 | 21,6 | 22,4 | 23,8 | 24,0 | 24,8 |
| 22,3 | 23,1 | 23,9 | 24,7 | 25,5 | ||
| 23,1 | 23,9 | 24,7 | 25,5 | 26,3 | ||
| 5. | НН1 = НН2 | 15,8 | 16,2 | 16,6 | 17,0 | 17,4 |
| 16,6 | 17,0 | 17,4 | 17,8 | 18,2 | ||
| 17,3 | 17,7 | 18,1 | 18,5 | 18,9 | ||
| Манжета | ||||||
| 6. | ММ1 | 26,8 | 27,6 | 28,4 | 29,2 | 30,0 |
| Нижний воротник | ||||||
| 7. | ВВ1 | 22,9 | 23,4 | 23,9 | 24,4 | 24,9 |
Выкройка мужских брюк
Для разного роста работников должна отдельно создаваться мужская спецодежда (выкройки), как построить лекало брюк, смотрите в следующей таблице. Три строчки в каждом измерении соответствуют меркам 1, 2 и 3 роста.
| № | Отрезок | Размер | ||||
| 44 | 46 | 48 | 50 | 52 | ||
| Задняя часть | ||||||
| 1. | ТТ1 (здесь и далее по строкам – для роста 1,2,3) | 22,4 | 23,1 | 23,8 | 24,5 | 25,2 |
| 22,6 | 23,3 | 24,0 | 24,7 | 25,4 | ||
| 22,9 | 23,6 | 24,3 | 25,0 | 25,7 | ||
| 2. | ТТ2 | 4,6 | 4,7 | 4,9 | 5,0 | 5,2 |
| 4,8 | 4,9 | 5,1 | 5,2 | 5,4 | ||
| 5,1 | 5,2 | 5,4 | 5,5 | 5,7 | ||
| 3. | ЯЯ1 | 23,6 | 24,4 | 25,2 | 26,0 | 26,8 |
| 22,9 | 24,7 | 25,5 | 26,3 | 27,1 | ||
| 24,1 | 24,9 | 25,7 | 26,5 | 27,3 | ||
| 4. | ЯЯ2 | 19,9 | 20,5 | 21,1 | 21,7 | 22,3 |
| 20,1 | 20,7 | 21,3 | 21,9 | 22,5 | ||
| 20,4 | 21,0 | 21,6 | 22,2 | 22,8 | ||
| 5. | ББ1 | 12,2 | 11,5 | 11,6 | 11,3 | 11,0 |
| 12,5 | 12,2 | 11,9 | 11,6 | 11,3 | ||
| 12,7 | 12,4 | 12,1 | 11,8 | 11,5 | ||
| 6. | КК1 = КК2 | 15,8 | 16,2 | 16,6 | 17,0 | 17,4 |
| 16,1 | 16,5 | 16,9 | 17,3 | 17,7 | ||
| 16,3 | 16,7 | 17,1 | 17,5 | 17,9 | ||
| 7. | НН1 = НН2 | 12,1 | 12,4 | 12,7 | 13,0 | 13,3 |
| 12,4 | 12,7 | 13,0 | 13,3 | 13,6 | ||
| 12,6 | 12,9 | 13,2 | 13,5 | 13,8 | ||
| 8. | 1-2 | 2,1 | 2,4 | 2,7 | 3,0 | 3,3 |
| 9. | АБ | 44,0 | 46,0 | 48,0 | 50,0 | 52,0 |
| 45,0 | 47,0 | 49,0 | 51,0 | 53,0 | ||
| 46,0 | 48,0 | 50,0 | 52,0 | 54,0 | ||
| Передняя часть | ||||||
| 1. | ТЯ | 24,4 | 24,9 | 25,4 | 25,9 | 26,4 |
| 25,1 | 25,6 | 26,1 | 26,6 | 27,1 | ||
| 25,8 | 26,3 | 26,8 | 27,3 | 27,8 | ||
| 2. | ТК | 54,5 | ||||
| 56,7 | ||||||
| 59,0 | ||||||
| 3. | ТН | 97,5 | ||||
| 102 | ||||||
| 106 | ||||||
| 4. | ЯБ | 8,9 | 9,1 | 9,3 | 9,5 | 9,7 |
| 5. | ТТ1 | 8,6 | 8,9 | 9,2 | 9,5 | 9,8 |
| 8,9 | 9,2 | 9,5 | 9,8 | 10,1 | ||
| 9,1 | 9,4 | 9,7 | 10,0 | 10,3 | ||
| 6. | ТТ2 | 11,7 | 12,4 | 13,1 | 13,8 | 14,5 |
| 12,0 | 12,7 | 13,4 | 14,1 | 14,8 | ||
| 12,2 | 12,9 | 13,6 | 14,3 | 15,0 | ||
| 7. | ЯЯ1 | 16,5 | 17,1 | 17,7 | 18,3 | 18,9 |
| 16,8 | 17,4 | 18,0 | 18,6 | 19,2 | ||
| 17,0 | 17,6 | 18,2 | 18,8 | 19,4 | ||
| 8. | ЯЯ2 | 14,8 | 15,4 | 16,0 | 16,6 | 17,2 |
| 15,1 | 15,7 | 16,3 | 16,9 | 17,5 | ||
| 15,3 | 15,9 | 16,5 | 17,1 | 17,7 | ||
| 9. | КК1 = КК2 | 12,3 | 12,7 | 13,1 | 13,5 | 13,9 |
| 12,6 | 13,0 | 13,4 | 13,8 | 14,2 | ||
| 12,8 | 13,2 | 13,6 | 14,0 | 14,4 | ||
| 10. | НН1=НН2 | 11,4 | 11,6 | 11,8 | 12,0 | 12,2 |
| 11,7 | 11,9 | 12,1 | 12,3 | 12,5 | ||
| 11,9 | 12,1 | 12,3 | 12,5 | 12,7 | ||
Бесплатные выкройки одежды в натуральную величину
Размеры платья 44, 46, 48, 50, 52, 54
Выкройка платья рубашки
Размеры платья 44, 46, 48, 50, 52, 54
Годе
Размеры платья 44, 46, 48, 50, 52, 54
Выкройка платья с рукавом 3/4
Размеры платьев 48, 50, 52, 54, 56, 58, 60, 62, 64, 66 и 50, 52, 54, 56
Выкройка свободного платья
Размеры платья 44, 46, 48, 50, 52, 54
Выкройка платья с запахом
Размеры платья 44, 46, 48, 50, 52, 54
Выкройка домашнего платья
Размеры платья 44, 46, 48, 50, 52, 54
Простая выкройка платья
Размеры платья 44, 46, 48, 50, 52, 54
Выкройка платья из трикотажа
Размеры платья 42, 44, 46, 48
Короткое платье
Размеры платья 46, 48, 50, 52
Выкройка платья с длинным рукавом
Размеры платья 44, 46, 48, 50
Выкройка платья в стиле ампир
Размеры платья 48, 50, 52, 54, 56, 58, 60, 62, 64, 66
Выкройка платья с рукавом реглан
Размеры платья 50, 52, 54, 56, 58, 60
Летнее платье для полных
Размеры платьев 42, 44, 46, 48
Летнее платье
Размеры юбки 40, 42, 44, 46
Выкройка юбки в складку
Размеры юбки 44, 46, 48, 50, 52, 54
Простая выкройка юбки
Размеры юбки 44, 46, 48, 50, 52, 54
Выкройка восьмиклинки
Размеры юбки 44, 46, 48, 50, 52, 54
Выкройка юбки с запахом
porivan.ru








